Description
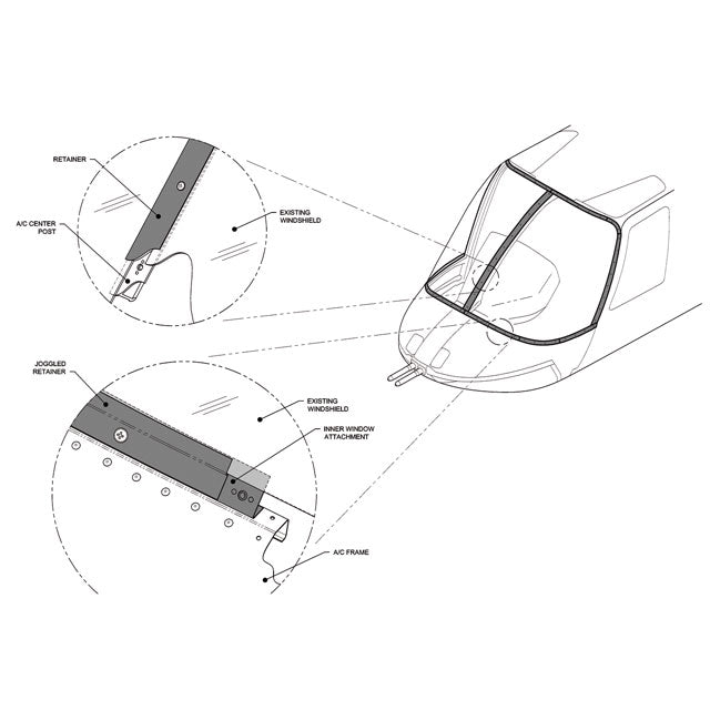
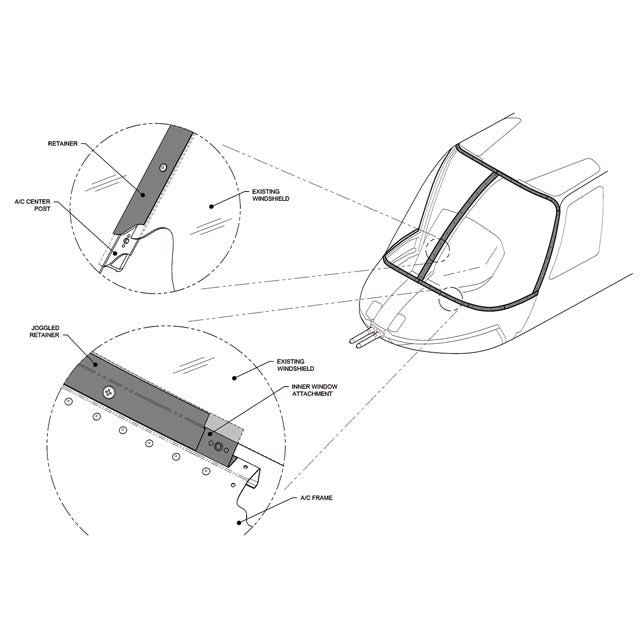
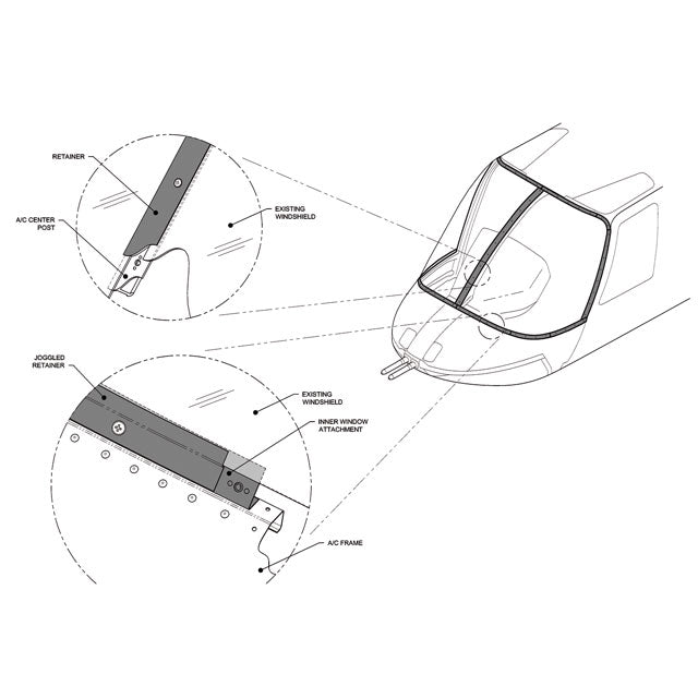
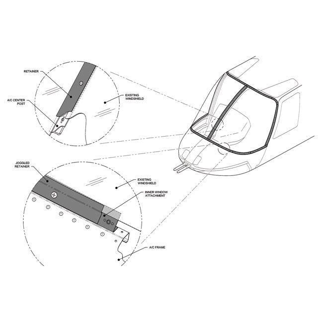
The DART Aerospace Screw-in Windshield Modification Kit allows the operator to replace the existing OEM windshield retainers with quick change out retainers. While the OEM retainers are riveted in place and are difficult and time consuming to replace, the DART Aerospace kit provides durable retainers that are screwed in place and that can be easily removed to allow for quick windshield replacement or removal after initial installation of the modification kit, windshields can be removed or installed in 2 hrs per side.
*Includes retainers for both LH and RH windshields. Does not include windshield. Compatible with OEM, AAI and Tech Tool windshields. Compatible with DART (Apical) Cable Cutter Kit and Bristol (Magellan) Wire Strike Protection System (WSPS). For initial installation, both LH & RH windshield retainers must be replaced. 1 kit modifies 1 aircraft.
Key Features
- Replaces existing OEM windshield retainers with quick change out retainers
- DART's kit provides durable retainers that are screwed in place
- Includes retainers for both LH and RH windshields
Key Benefits
- Windshields can be removed or installed in 2 hours per side after initial installation of the modification kit
- Option to install windshield with adhesive to avoid 24 hr drying time for Sikaflex/Proseal windshield installation
Approvals
| Approval type | Authority | Reference number | Aircraft approved | Description |
|---|---|---|---|---|
| STC | EASA - Europe | 10039042, Rev. 1 | 206A/206B/206L/206L1/206L3/206L4 | Screw-In Windshield Modification Kit |
| STC | TCCA - Canada | SH12-3 | 206A/206B/206L/206L1/206L3/206L4 | Screw-In Windshield Modification Kit |
| STC | FAA - USA | SR03091NY | 206A/206B/206L/206L1/206L3/206L4 | Screw-In Windshield Modification Kit |




