Description
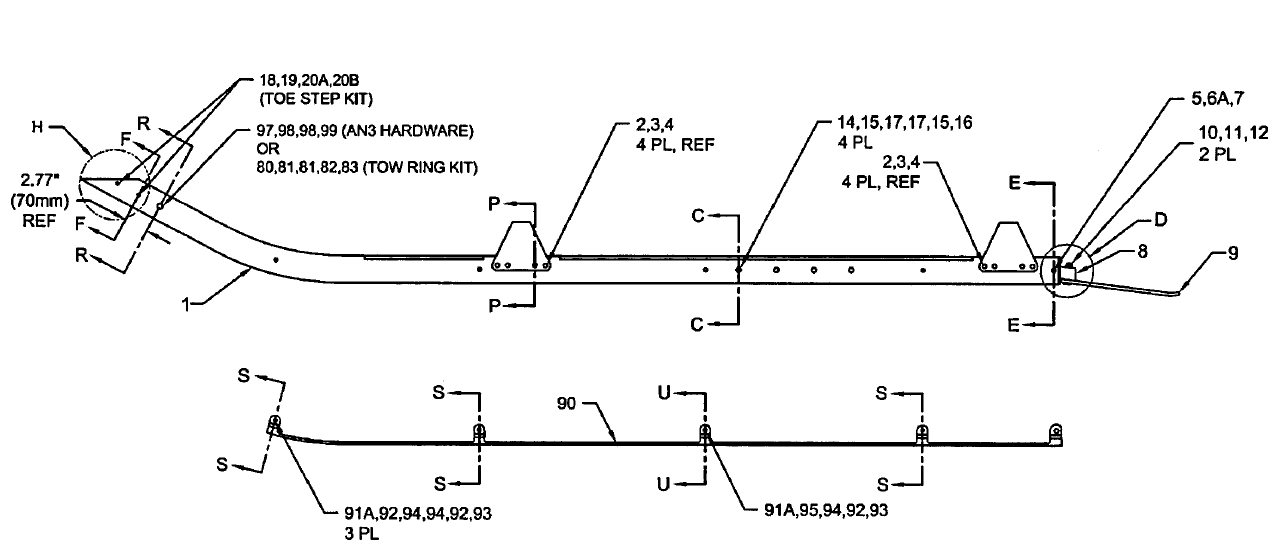
We believe that conventional skidtubes are under-designed for the types of landings most helicopters encounter. Conventional skidtubes are ill-equipped to face the critical loading conditions encountered when landing on uneven ground. Under these conditions, simple round tubes tend to puncture, dent and bend because they cannot maintain their shape. DART Aerospace's revolutionary patented Round-I-Beam™ technology combines the conventional round tube with the strength of the I-beam made from 6061-T6 aluminum. In DART Aerospace skidtubes, the central I-beam web absorbs most of the impact on landing so the tube maintains its integrity. Even with the addition of a central web, the weight is comparable to that of conventional skidtubes. Comes standard with full-length wearplates & tungsten carbide welded wearpads . DART also offers skidtubes with heavier duty run-on landing wearplates that feature 1 full-length stainless steel wear bar with more areas of generously overlaid highly wear resistant tungsten carbide compared to any other available wearplates.
*Comes with full length stainless steel heavy-duty wearplates & blade. Compatible with DART and OEM Crosstubes.
Key Features
- No float compatibility - provisions removed
- Includes full-length stainless steel wearplates with wearbars and heavy-duty tungsten carbide welds
- Thru-bolt wearplate installation
- Patented I-beam construction
- Made from 6061-T6 aluminum
- Blade and Wearplates included
Key Benefits
- Compatible with DART and OEM Crosstubes
- Improved wear resistance
- Ideal for training operations or harsh/rocky landing environments
- 10 times more resistant to crushing due to I-Beam construction
- Repairable/weldable
Approvals
| Approval type | Authority | Reference number | Aircraft approved | Description |
|---|---|---|---|---|
| STC | EASA - Europe | 10033942 | AS350B/AS350B1/AS350B2/AS350B3/AS350BA/AS350D/AS355E/AS355F/AS355F1/AS355F2/AS355N/AS355NP | D350-636 Approved OEM Replacement Skidtube |
| STC | ANAC - Brazil | 2009S05-01 | AS350B/AS350B1/AS350B2/AS350B3/AS350BA/AS355F/AS355F1/AS355F2/AS355N | D350-636 Approved OEM Replacement Skidtube |
| STC | TCCA - Canada | SH99-7 | AS350B/AS350B1/AS350B2/AS350B3/AS350BA/AS350D/AS355E/AS355F/AS355F1/AS355F2/AS355N/AS355NP | D350-636 Approved OEM Replacement Skidtube |
| STC | FAA - USA | SR00646SE | AS350B/AS350B1/AS350B2/AS350B3/AS350BA/AS350D/AS355E/AS355F/AS355F1/AS355F2/AS355N/AS355NP | D350-636 Approved OEM Replacement Skidtube |
| PMA | FAA - USA | PQ2021NM Supplement No 2 | AS350B/AS350B1/AS350B2/AS350B3/AS350BA/AS350D/AS355E/AS355F/AS355F1/AS355F2/AS355N/AS355NP | Approved Replacement for Part Numbers 350A41-1016-0151/-0251/-1061/-1063/-1070/-1155/-1161/-1163/-1170/-1171/-1255/-1261/-1262/-1263/-1361/-1362/-1363/-4806/-4906 350A41-1080-03/-02/ |



